W-STUD 란? 벽체 상세도, 스터드 맞댄이음 보강 연결

W-스터드 시스템
화이트노이즈(백색소음)을 효과적으로 차단시켜 주는
고성능의 단일스터드만으로
2시간 내화 및 1등급 차음 성능을 구현
(타공런너와 함께 시공 필요) 기존
이중 스터드 구조에 비해 얇은 벽체 제안이
가능하여(최소 벽체두께 150mm) 공간 활용성을 향상시킨다.
사양
두께: 0.5mm
너비: 74, 90, 100, 124형
적용부위
호텔, 학교 등과 같이 높은 수준의 차음성능이
요구되는 건식벽체(포시즌/ 카지노 월타입에 적용되었음)
* 화이트 노이즈: 음폭이 넓어 공해에 해당하지 않는 소음
무작위 패턴을 보여주기 때문에 랜덤 노이즈 라고 한다.
그래프로 나타내면 주파수 대역이
전체에 걸쳐 나타나는 평탄한 잡음

| STUD | 차음성능 | 내화 | 두께(m) | 구 조 |
| C-STUD | 1등급 (RW=63) |
2시간 | 180 이상 | [방화(방화방수)석고보드 19mm]+[방화석고보드19mm]+[C-STUD,두께 0.8mm,폭 50mm 그라스울 (밀도24k 두께 50mm) 및 공기층 4mm] +[C STUD, 두께0.8mm, 폭50mm]+[방화석고보드19mm]+[방화(방화방수)석고보드 19mm] |
| STUD | 차음성능 | 내화 | 두께(m) | 구 조 |
| C-STUD | 2등급 (RW=43) |
1.5시간 | 110 이상 | [방화석고보드 15mm]+[방화석고보드15mm]+[C-STUD,두께 0.8mm,폭 50mm이상 그라스울 (밀도24k 두께 50mm) 및 공기층 4mm]+[방화석고보드15mm]+ [방화석고보드 15mm] |
| STUD | 차음성능 | 내화 | 두께(m) | 구 조 |
| W-STUD | 1등급 (RW=62) |
2시간 | 150 이상 | [방화석고보19mm]+ [방화석고보드 19mm] +[W STUD, 두께0.5mm, 폭 74mm, 그라스울 (밀도 24k이상, 두께 50mm) 및 공기층 24mm 포함] + [방화석고보드 19mm] + [방화석고보드 19mm] |
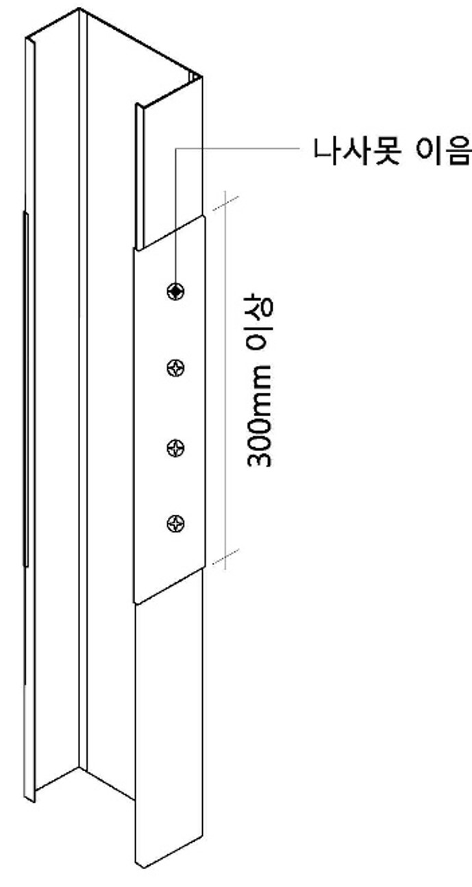
스터드 보강 연결 상세도

· 러너 보강 스터드 맞댄이음
두 개의 스터드를 맞댄이음으로 하고
그위를 300mm 이상 러너로 겹치게 한 후
각각의 스터드와 러너를 나사못으로 고정한다
(용접을 할 수 없거나 급하게 높이를 늘려야
할 경우 사용 - 비권장)

· 스터드 용접 맞댄이음
C스터드의 플랜지 양면을 600mm 이내 간격으로
용접으로 고정시켜 보강한다
(약 26% 높이 증가)

· 스터드 맞댄이음
두 개의 C 스터드 웨브를 맞붙여
용접 또는 나사못을 이용하여 고정함으로써
더 높은 층고의 석고보드 칸막이 벽 시공이 가능하다
(27% 높이 증가)
* USG BORAL 기준 - 스터드 맞댄 이음의 층고 높이 비교표
| 스터드 규격 | 단일 스터드 | 단일스터드 (맞댄이음 보강) |
비고 |
| 50 S 45-08 | 4.35 | 5.48 | 일반석고보드 12.5T 양면 2겹 시공 |
| 65 S 45-08 | 5.03 | 6.34 | |
| 75 S 45-08 | 5.47 | 6.89 | 스터드 간격 450mm |
| 90 S 45-08 | 6.12 | 7.71 | 횡방향하중 240N/㎡ |
| 100 S 45-08 | 6.54 | 8.24 | 최대허용처짐 L/240 |
· 허용 처짐이란 벽체의 강성(센 정도)을 뜻하며
L/120 보다 L/360인 경우가 벽체의 처짐이
작아지므로 허용높이 감소
· L/120: 허용되는 범위가 가장 크며, 대부분 적용이 어려움
· L/240: 일반적인 허용범위이며, 마감이 도배와 같이
벽체의 흔들림에도 마감에 지장이 적은 경우
· L/360: 도장마감과 같이 벽체의 흔들림에 영향이
큰 경우 적용
* 벽체의 처짐이 작은 L/360 사용 권장

내장공사에 대해서...
내장재료의 종류와 시공순서 내장공사 란 건물 내부의 벽, 천장, 바닥의 설치와 치장을 위주로 한 마무리 공사 ▶ 내장재료의 종류 (벽, 천장) - 석고보드 소석고를 주원료로 혼화제를 넣고 물반
heng000.com
경량철골 vs H-형강구조
경량철골 vs H-형강 구조 경량철골은 경량 철골 구조 시스템의 최첨단, 최경량 조립식 구조물로 자동화된 ROLL FORMING 생산라인에서 생산되는 주자재와 규격화된 각종 브라켓 및 부자재로 현장에서
heng000.com
공법 표준화 (수장 공사)_ 건식 벽체 시공 기준
공법 표준화 (수장공사) ▒ 수장공사 일반 1. 석고보드 일반 1. 1 석고보드 형상에 따른 종류 1) 평보드 : 석고보드 측면을 거의 직각으로 성형한 보드로써 벽지 등의 하지용 보드로 사용 2) 테파보
heng000.com
'interior' 카테고리의 다른 글
| 드레인에 대해서 알아보자! [ft. 드레인 상세도] (0) | 2021.09.23 |
|---|---|
| 주방가구 수입 하드웨어 브랜드에 대해서 살펴보자! (0) | 2021.09.21 |
| 방염 페인트, 방염처리 대상 건축물, 관련 시방서 (1) | 2021.09.20 |
| 강화유리 Heat Soak Test (힛속테스트) 자파현상이란? (0) | 2021.09.02 |
| 물결 패턴의 벽체 표현이 가능한 란치아니 판넬에 대해서 알아보자! (0) | 2021.08.30 |
| 테라코타(TERRACOTA)에 대해서 알아보자! [ft. T-Brick 티브릭] (0) | 2021.08.27 |
| 각 컨셉별 와인바 인테리어 디자인! 어떤 컨셉이 좋을까? (0) | 2021.08.25 |
| 독특하고 특이한 천정, 벽체 구조물에 대해서...[ft. 호텔로비, 연회장, 대강당 등] (0) | 2021.08.24 |

댓글